풍도 PC Slab
[특허 10-2044706]
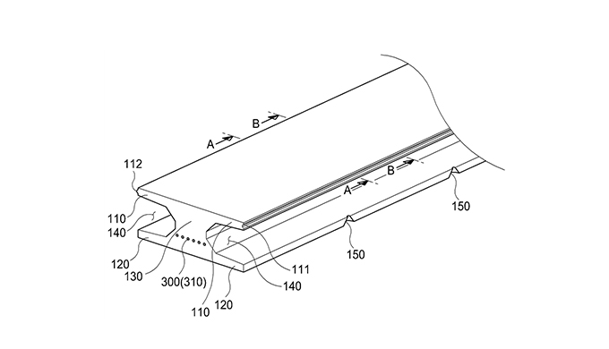
장경간이 가능한 프리텐션 PSC 슬래브
- (반)횡류식 환기시스템 터널에서 터널 상부에 환기용 풍도를 구성하기 위해 설치되는 슬래브
- 공장에서 제작된 프리캐스트 슬래브를 현장에서 연속하게 결합 설치

FEATURES
특장점
현장타설 공법 대비 원가절감, 공기단축 및 유지보수 유리


풍도슬래브에 결합식 중공부를 형성하여 구조적 안전성 및 시공 편의성 증대


중공부 소음유입공 형성으로 터널 내 소음 감소


MOCK-UP TEST
구조실험
거푸집 설치 및 강연선 배치
콘크리트 타설
탈형
재하시험
FEM 해석
실험치 vs 해석치
ANTI-FIRE TEST
내화실험
거푸집 설치 및 센서 부착
콘크리트 타설
탈형
내화시험
FEM 해석
실험치 vs 해석치